潍坊市环境科学研究设计院有限公司欢迎您!
“环评手续” 办理流程图(办事指南)

附:建设项目环境影响评价工作程序图
《建设项目环境影响评价技术导则 总纲》HJ2.1-2016代替HJ2.1-2011

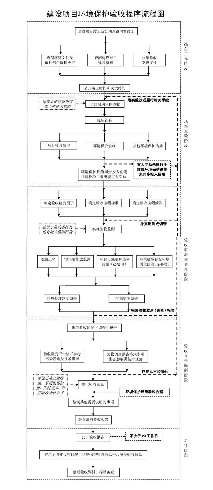
附:竣工环保验收工作流程图

注:上图来源为北京市生态环境局网站:《建设单位开展自主环境保护验收指南》http://sthjj.beijing.gov.cn/bjhrb/index/xxgk69/zfxxgk43/fdzdgknr2/qtwj30/10890818/index.html
【附件下载地址】: